近日,由人民网主办的人民匠心奖评选落下帷幕。惠达卫浴凭借其创新研发的卫生陶瓷新型冲水技术,荣获“人民匠心技术奖”殊荣。这标志着惠达卫浴为消费者带来了更为优质的生活体验,并且对其在推动卫浴行业技术进步方面所做出的杰出贡献给予了肯定。

图:惠达卫浴荣获人民匠心技术奖
人民匠心技术奖评选活动旨在表彰在我国各行业中具有创新精神、工匠精神和技术实力的企业,以激励更多企业投入到技术研发和创新中来,推动产业升级和技术进步。此次获奖,是对惠达卫浴长期以来致力于技术创新和提升产品质量的充分肯定。

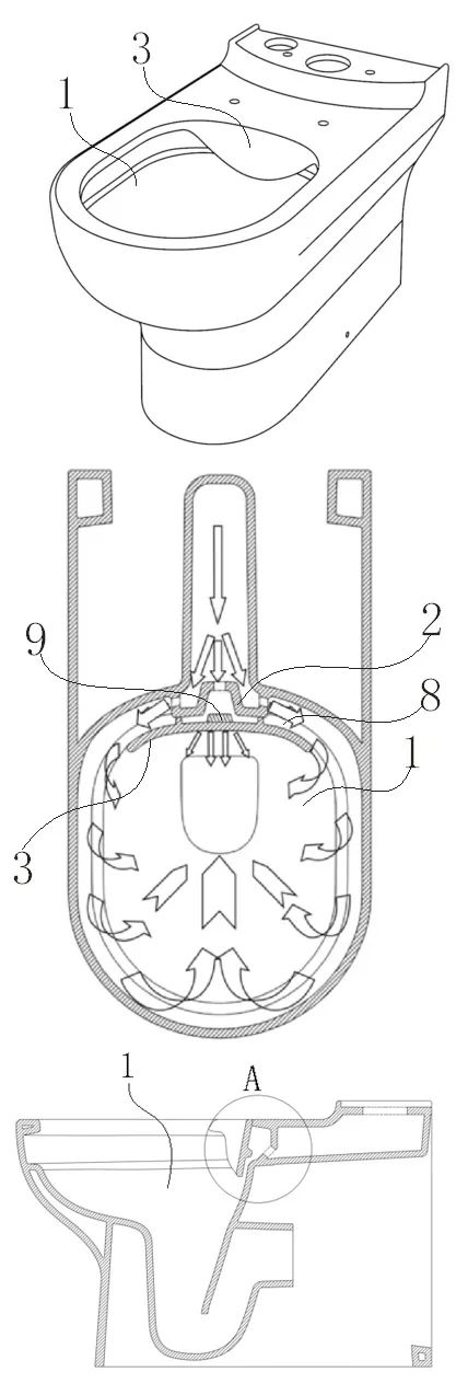
作为国内领军卫浴品牌,惠达卫浴一直以来都致力于技术创新和产品研发。此次获奖的新型冲水技术,是惠达卫浴依托自身技术优势及产业优势,引入计算机仿真技术,推动了卫浴产品在节水、环保、高效排放等方面的创新突破。该技术已获得国家发明专利,同时通过世界知识产权组织进行了12个国家及地区的专利申请。截至2023年11月,俄罗斯、越南已授权,埃及及欧洲专利局下属9国进入公开阶段。运用该技术方案开发的产品,已经通过了SGS、ITS、Intertek等多家第三方检测及认证机构的检测认证,并销往英国、法国、俄罗斯、乌克兰等多个海外国家。

事实上,这项技术方案产生了较大的经济效益和社会效益。它不仅实现了产品结构简化、生产难度降低、操作人员劳动强度减小,人均日产能可提升10%-15%,产品良品率大幅提升,而且打破了国外技术的垄断,对推动国内卫生陶瓷行业的发展和提高自主品牌核心竞争力具有重要的意义。
据介绍,该技术方案通过在坐便器主水道前端设置分流板,控制冲洗水分配比例。进一步通过设置挡流板和对冲导流腔及后冲导水腔的结构设计,对冲洗水进行再次分配。这种设计使冲洗水分配比例更加合理,从而实现了冲洗水分配合理、出水稳定、冲洗水无飞溅、冲水噪音小、排污更彻底的技术效果,助力我国卫浴行业实现可持续发展。

惠达卫浴荣获人民匠心技术奖,体现了企业对技术创新的重视和投入,也为行业树立了典范,更是对惠达卫浴为行业发展作出贡献的褒奖。在新时代背景下,卫浴行业正面临着转型升级的压力和挑战,惠达卫浴将积极发挥引领作用,秉持工匠精神,专注于技术研发,坚持绿色发展理念,推动我国卫浴行业实现高质量发展,也为消费者创造了更加美好的卫浴生活。
手机浏览陶卫网









